环形挡边提升输送带防撕裂更好的办法
来源:康硕输送带生产厂家发表时间:2021-01-25 18:39
一种具有良好的耐撕裂性、使用寿命长的环形挡边输送带,通过热熔融方法,用带有U型口的环型挡边夹住带体后,向穿孔中注入熔融的胶料,凝固后使带体与挡边牢固地粘合成为一体,橡胶提升传送带在工业行业中占有重要的地位,广泛应用于矿山、冶金、铸造、建材、机械制造、化学等行业,用来输送各种物料,作为一种输送手段,具有运费低廉、大距离、连续化运输等优点,因此对于输送量大、要求提升速度快的生产厂家来说,这无疑是一种很重要的输送手段,目前有些运输带在环型输送时,由于向心力的作用会向内侧偏移,为了阻止向内侧偏移,有些工业输送带生产厂家在皮带外侧设计了一种可成为一体的带有凸棱的挡边,同时配备了一种为保持传送带运行状态、需对挡边上的凸棱产生作用力的带有转子的装置;

这种挡边橡胶带是在带有凸棱的挡边上U型口将皮带的边缘夹住后,在生产时将胶带边缘与挡边缝合在一起形成,但是这种挡边带在使用中转弯时,由于转子对挡边的作用,会产生一种与运输带的转弯向心力相反的作用力,从而极易导致与挡边在缝合处撕裂,使其破损、缩短使用寿命,为解决上述问题介绍一种采用新型加工方法生产的挡边带,即在带有凸棱的挡边边缘上设计一种比原有缝线方法针孔直径大的穿孔,当大倾角提升输送带的边缘被挡边的U型口夹住后,再向穿孔内注入熔融的与挡边相同的材料,固化后可以融合为一体,这样在转弯运行时,虽然挡边与挡边皮带之间产生相反的作用力,但是由于穿孔固定作用,阻止了它们之间的分离,并且由于穿孔直径比缝合孔直径大,产生的撕裂应力被分散,从而相对减小了挡边与橡胶皮带之间的作用力;

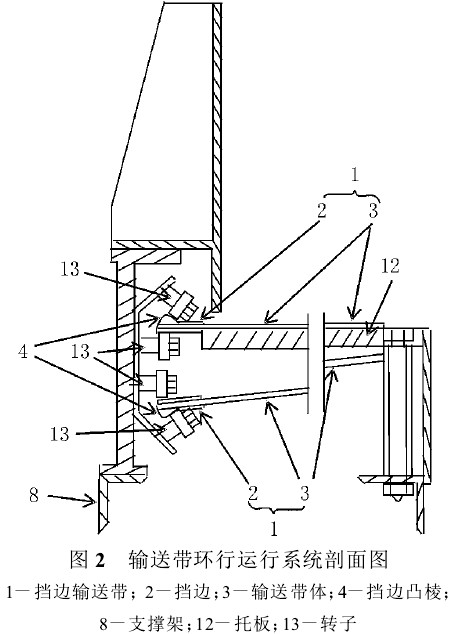
挡边的结构从平面看外观是圆弧型,表面有一个剖面为半圆形的凸棱,该种凸棱主要作用是为保持挡边环形提升输送带转弯时的运行轨迹,设备上安装有转子,以该转子来克服挡边带产生的向心力,发挥支撑作用,挡边的剖面为U型,U型口用于夹住皮带边缘,挡边的材料则采用具有良好熔融粘合性的热塑性聚氨酯弹性体,同时在传送带边缘据需要沿一定距离制成数个比原有缝合孔直径大的穿孔,这些穿孔与挡边上的穿孔对应,穿孔截面为圆形或其他形状,带体的材质为热塑性聚氨酯弹性体,这样可以与挡边具有良好的熔融粘合性;

首先用挡边的U型口夹住带体的边缘,由于挡边的边缘处较薄,容易与带体融合,所以使用常规的融合模具,用短波照射后使其融合为一体,当挡边边缘与带体融合后,再向穿孔处注入熔融的挡边材料,固化后挡边与带体形成一个整体,在弯道运输时,橡胶输送带形成弧型,在弯道的两端分别有可自由回转的斜型托辊,在斜型托辊间皮带呈圆弧状,为阻止由于向心力作用而向内侧偏移时,利用设备转子顶住传送带的挡边,在设备上有一个与带体弯道形状对应的支撑架、斜型托辊和用于驱动托辊的电动机,在弯道的内侧和外侧分别设有托架,托架之间铺设了用于托住皮带的托板,托板的上表面与平行托辊的上表面在同一水平面上,同时在弯道的两端又分别设置一对轴承用于托辊的自由回转,在该设备上还有在挡边输送皮带上下分别设置了与挡边凸棱接触的自由转动的转子,当转子对挡边产生阻止橡胶挡边带内移的作用力时,挡边与带体会产生相反的作用力,但由于挡边与带体融合成一体,且穿孔具有的固定作用,又阻止了它们的分离,同时由于穿孔的直径较大,可分散分离作用力,降低了波状挡边输送带被撕裂的危险,因此不易损坏延长了使用寿命;

因环形挡边提升输送带的边缘与挡边边缘融合在一起,且被注入熔融材料的穿孔可产生的固定效果,从而提高了带体与挡边的粘合强度,这样的结构不仅保持了带体与挡边的粘合强度,又大幅度提高了带体与挡边的固定强度,由于受弯道运输半径大小的影响及挡边边缘宽度的制约,只需在很窄的范围内进行融合处理就可得到很强的固定效果,本方法生产的大倾斜角输送带规格产品具有撕裂力可分散、不易损坏、延长使用寿命的特点。
上一篇:输送皮带接头脱胶的原因及解决方法
- 2018-11-23挡边输送带与大倾角输送机时应考虑的事
- 2018-11-17波状挡边输送带的六大特点
- 2018-11-12大倾角皮带机的应用范围



